Т-34/85 (1/35 Dragon)
В работе кит от Dragon, который они с юмором окрестили «Т-34-85 c броней из пружинных кроватей». Сбирать «просто из коробки» — скучно. Покопавшись в архивах, нашёл танк завода №183 с катками-«пауками» и — главное — с двумя номерами: старым, бледным, и поверх него новым, жирным «К-209». На снимке он с оторванной полкой и здорово пожеванным экраном. Вот они — характер и история в одном кадре.
При ближайшем рассмотрении пластик Dragon оказался странным гибридом. Производитель даёт башню и корпус 183-го завода, но при этом комплектует набор декалями для машин с корпусами завода №112 — первая нестыковка. Вторая и главная: на крыше башни уже есть характерное уширование, которое появилось в 1945 году для установки большой, одностворчатой командирской башенки. А в инструкции предлагают поставить маленькую, двухстворчатую. Такой комбинации в металле, скорее всего, не существовало.
Чтобы всё исправить, пришлось полностью сварной шов под родную башенку. В образовавшуюся щель я вставил пластиковые подкладки. Только после этой подготовки можно было начинать сделать новые, правильные швы, которые уже соответствовали бы размеру башенки, большой командирской башенке. Конечно сделал заново и литьевой шов пов сей башне.
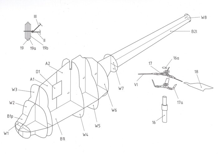
Работа пошла по принципу «от обратного»: не добавлять, а сначала убрать всё лишнее. Я заделал все технологические отверстия и срезал штатные полки и брызговики. Основу новой деталировки составили наборы фототравления от «Микродизайна»: полки, поручни, кронштейны. Катки заменил на смоляные от Miniarm, потому что на фото моего прототипа было чётко видно: первый каток — с перфорированной грузошиной, а остальные с цельной. Эта важная особенность недоступна в стандартной комплектации Dragon.
Для доработки пошли смоляные буксировочные крюки — штатные показались мне недостаточно убедительными. Сделал из пластика крепление брызговиков, сами полки — из травления. Срезал и слепил заново сварной шов переднего бронелиста. Все поручни заменил на сделанные из скрепок. Создал текстуру на люке мехавода-водителя.
Дальше по доработкам: расточил выхлопные патрубки, спаял из травления крышку жалюзей отвода воздуха, сделал из иглы от шприца бонки крепления печки. Снова добавил детали крепления брызговиков, так как сзади их тоже не будет. Ну и обязательный атрибут для моделей Т-34 — травлёные жалюзи воздухопритока, без них никуда.
Самое обидное открытие ждало с сетчатыми экранами, ради которых всё и затевалось. Dragon в одной коробке умудрился положить несовместимые вещи. Их пластик — под машину 183-го завода, а сетки, как выяснилось, по размерам и рисунку подходят только к прототипам с корпусами завода №112. На моём прототипе сетки корпуса сделаны из квадратных ячеек, а все производители (и Dragon, и МД) давали ромбики. Пришлось импровизировать: бортовые сетки я собрал из башенных сеток от «Микродизайна». Сделал четыре секции, убрал ящик ЗИП (его на фото не было) и изобразил на правом борту характерный загиб и повреждение, как на архивном снимке.
То на какую машину дают сетки Микродизайн и Dragon, мало того, что сетка ромб, она еще и по размерам странная, Dragon сильнго большая, МД маленькая
Куда же без сварных швов: сделал их на полках, «обварил» все поручни, петли, крепления брызговиков, участки, где оторвана полка, крюки, крепления баков и экранов. Швы сделал из Green Stuff, выполняя работу в четыре захода, чтобы случайно не испортить уже готовые и чтобы верхние детали не мешали прорабатывать нижние.
Искал интересное решение для запасных траков на лобовом листе и нашёл фотографию, где два трака висят вместе на одном болту с перекосом. Сделал бонки, сами траки рассверлил, вставил пальцы, поменял болты и обварил крепления. Получилось нестандартно и живо.
С шашками БДШ-5 тоже пришлось повозиться. Мало того что «Микродизайн» даёт неправильное расположение пружинной планки, которая должна вручную накалывать запал, так ещё и цилиндрические формы у них странно собираются. В общем, внедрение шашки на модель — задача нетривиальная. Пришлось срезать болты, подгонять, подгибать, делать стержень для сброса.
Окончательная примерка и создание мелочей. Ничто так не оживляет технику, как тряпки, вёдра, лопаты и скатки. Что-то слепил из двухкомпонентной шпатлёвки, что-то взял из запасов и, конечно, прикинул общий вид с экранами, чтобы при установке ничего нигде не задевало.
Перед грунтовкой всегда тщательно мою модель с Fairy. Дело не столько в возможных маслах с пресс-форм, сколько в гигантском количестве латунной пыли от травления, шпаклёвочной пыли и мелкой пластиковой стружки. Чистая поверхность — залог того, что на свежий грунт ничего не подлетит. Грунтовал Mr. Surfacer 1000 от Gunze. Этот этап — лучшая диагностика: под ровным серым слоем как на ладони видны все огрехи, недоклейки и места, требующие шлифовки. Пару моментов пришлось тут же поправить каплей суперклея и шпаклёвки.
Базовый цвет наносил водным акрилом AMMO MIG ATOM (4БО). После печального опыта со старыми акрилами AMMO эта краска стала приятным сюрпризом. Не липнет к игле, не комкуется в бутыльке, идеально дуется даже через 0.2 сопло. Разводил примерно 1:1 при давлении 1.1 атм. Сам цвет показался мне холодноватым, «памятниковым». Высветление делал в два захода, добавляя в базовую краску Dunkelgelb от AK. Сначала в пропорции 1:2 (светлый к базе), проходя основные плоскости, а потом почти 1:1, чтобы тонким соплом пройти самые грани и мелкие детали, создавая объём.
После высветления зафиксировал результат полуглянцевым лаком Mr. Hobby из баллончика. Он отлично выравнивает поверхность и защищает водную основу. Для смывки взял классическую коричневую от Gunze — она не только проявила детали, но и сдвинула холодный 4БО в сторону тёплой охры, что мне и было нужно. Поскольку готовых декалей на «К-209» не было, номер и широкую белую полосу на башне пришлось рисовать вручную. Делал это водосмываемой краской от Arma — она незаменима, если нужно переделывать: неудачный мазок можно стереть мокрой ваткой и начать заново.
Перед работой маслом покрыл модель матовым лаком с парой капель глянца (чистый мат даёт похожий на «софт-тач» эффект). Задача была не сделать грязь, а создать основу: выгоревшую на солнце краску и базу для слоя пыли. Использовал масла Wilder: Buff нанёс на горизонтальные поверхности (крыша башни, МТО) для максимального выцветания. Faded Yellow и Faded Green тонкими вертикальными потёками пустил по бортам и наклонным поверхностям, имитируя пыль, смытую дождём. Коричневым маслом усилил тени в углублениях.
На сколы у меня всегда уходит непропорционально много времени. На одну башню — часов пять. Я не тороплюсь, прорабатываю каждый лючок, каждую кромку. Делаю двухслойные сколы: сначала цвет сколотой краски, потом, внутри, жженую умбру. Знаю, что получается с перебором, но опыт подсказывает: последующие слои фильтров, пыли и грязи съедят 30-40% яркости. Отдельно проработал места, где на прототипе были сняты брызговики и оторвана полка — там нанёс сколы до цвета грунта (железного сурика), так как эти детали, скорее всего, и не красились.
Для эффекта набившейся в неровности литья пыли использовал хитрую комбинацию. Сначала нанёс на всю боковую поверхность башни жидкость для чипинга от AK. Затем, практически полупрозрачным слоем, покрыл спиртовым акрилом Jim Scale цвета Buff. Его ключевое свойство — плохая адгезия. Буквально через пару минут начал стирать краску жёсткой кистью, смоченной водой. В результате пигмент остался только в глубоких впадинах и рисках литья, создав идеальный эффект въевшейся пыли.
На следующем этапе натёр грифельным карандашом все кромки, которые могли блестеть от трения: острые грани брони, поручни, подъёмные крюки, гребни траков. Блеск получился яркий, почти хромированный. Но я не переживал, потому что следующим шагом прошёлся по этим местам маслом. Блеск притушился, а на сколах образовался сложный, глухой оттенок — не яркий металл, а скорее металл, уже тронутый окислами и плёнкой грязи.
Финальный визеринг — это этап, когда я порчу чистую работу. Для грязи на ВЛД и ВКД использовал густую смесь: тёмные пигменты, текстурную добавку от AK и эмалевую жижу от AMMO. На полки и нижнюю часть бортов насыпал сухие пигменты — дорожной пыли и толчёный «кирпич». Сбрызнул уайт-спиритом и сразу зафиксировал матовым лаком (фиксатор пигментов часто даёт разводы). На кормовом листе эмалевыми эффектами создал иллюзию влажных, масляных потёков.
Одеваем сетки, ставим башню и мелочь — и пора на фотографирование.
Dragon-овский набор, честно говоря, разочаровал. За эти деньги получаешь пластик с историческими нестыковками, сетки, которые не подходят к прототипу, и полное отсутствие вменяемой разметки для их установки. Вывод: если хочешь собрать точный берлинский Т-34 с экранами, лучше взять пластик от «Звезды», травление от «Микродизайна» и квадратные сетки, а потом всё собрать и подогнать самому. Будет и правильнее, и, как ни парадоксально, проще. Но когда последняя деталь приклеена, а модель уезжает на финальную фотосессию, все эти мытарства отходят на второй план. А впереди уже ждёт следующая коробка из стопки.
Ну а тех, кому нравятся мои работы и хочется узнать подробнее о технике и химии, которую я использую, приглашаю на свой канал: https://t.me/monomodel
Так же постепенно наполняю архив с фотографиями и статьями в группе ВКонтакте: https://vk.com/monomodel
Что сегодня соберём, склеим и покрасим? Большая подборка интересных сборных моделей
Сборная модель автомобиля-амфибии ЗИЛ-132П с двигателем ВК-1 (1/43) 1359AVD. В коробке - набор смоляных и резиновых деталей для постройки и самостоятельной покраски модели в масштабе 1/43. Ссылка на такой набор
AVD Models Луна-М 9П113 с ракетой 9М21 на шасси ЗИЛ-135ЛМ (1:43). Ссылка на набор
Сборная модель Автокран КС-3575А (1/43). Ссылка на набор
Сборная модель КРАЗ-258Б1 с полуприцепом ТЗ-22 (1/43). Ссылка на набор
Сборная модель "Лайнер "Титаник" (1:400), ссылка на набор
ZVEZDA Модель сборная автомобиль KAMAZ-43509 KAMAZ-мастер 1/43. Ссылка на набор
Сборная модель ЗИЛ-130В1 с полуприцепом ОДАЗ-885 (1/35). Ссылка на набор
Сборная модель автомобиля ПМГ-6(51) (1/43). Ссылка на набор
Звезда 3541-BR26. Советский грузовик 4,5 т масштаб 1/35 . Ссылка на набор
Сборная модель душевого автомобиля ДДА-3 (1/43). Ссылка на набор
Сборная модель Пожарная автолестница АЛМ-30 (1/43) 1669AVD. Ссылка на набор
Сборная модель тягача МАЗ-532 (1/43). Ссылка на набор
Сборная модель Грузовик МРС-1-52 на базе ГАЗ-52 (1/43). Ссылка на набор
Модель коллекционная AVD Уральский ГРУЗОВИК-375 бортовой с тентом. Ссылка на неё
Автобус Икарус-211 (1:43). Ссылка на набор для сборки и самостоятельной покраски.
Сборная модель AVD Автоцистерна АЦ-8 200, 1/43 . Ссылка на модель
Модель коллекционная сборная Средний танк TИП-54-1 в масштабе 1.43. Ссылка на модель
Склеиваемая пластиковая модель Многоцелевой бронированный тягач МТ-ЛБ-2. Масштаб 1:35. Ссылка на набор
Модель коллекционная AVD Трамвай ЛМ-68 сборная. Ссылка на набор
Авиалайнер Airbus А300B4 PANAM (1:144). Ссылка на набор
Сборная модель "Русский Бриг Меркурий" 1/100. Ссылка на набор
Модель коллекционная Паровой грузовой автомобиль НАМИ-012. Ссылка на набор
3002 Takom Экраноплан "Лунь" (Lun-Class Ekranoplan) 1/144. Ссылка на набор
Сборная модель Разведывательно-боевой вертолет Ка-52 «Аллигатор». Ссылка на набор
Сборная модель ZVEZDA Российский многофункциональный истребитель пятого поколения Су-57 (4824) 1:48. Ссылка на набор
Когда «Современный» стал «Бесстрашным» (фантазия на тему...)
Продолжаю показывать обитателей моей разбросанной коллекции. Сегодня настал черед корабля — эсминца проекта 956 "Современный" от "Звезды".
Это одна из моих ранних работ, где я впервые рискнул попробовать фототравление. Опыт был волнительный, но результат до сих пор греет душу.
Важная оговорка: Мой "Современный" - это не историческая реконструкция, а свободная фантазия на тему. Просто потому, что мне нравятся его суровые и лаконичные обводы. 956-е эсминцы прекрасны своей брутальной, почти аскетичной эстетикой - мощный корпус и простая по форме надстройка, в которой чувствуется сила.
Я собрал его несколько лет назад, наклеил бортовой номер 431 (который был в декалях), добавил антенны как у "Безупречного", а на подставку вывел название "Бесстрашный" (оно тоже было в коробке). Получился такой собирательный образ советской морской мощи конца Холодной войны.
Почему именно эти корабли? Начало 70-х - время невероятного технологического рывка, когда военные зачастую становились первооткрывателями новых технологий. Эсминцы проекта 956, заложенные в ту эпоху, - прямое тому подтверждение. Они несли в себе мощнейшее вооружение и стали настоящими "рабочими лошадками" флота.
Немножко реальной истории для контекста:
"Современный" (борт 431, который я и взял) служил с 1980 по 1998 год. Он участвовал в крупнейших учениях, нёс службу в Средиземном море и даже следил за американским авианосцем "Форрестол" в Норвежском море в 1988 году.
"Безупречный" (чью "внешность" я частично позаимствовал) также активно служил на Средиземноморье в конце 80-х — начале 90-х.
Для меня это не просто пластик, а дань уважения той сложной эпохе и её инженерной мысли. Пусть моя модель и не претендует на музейную точность.
Масштабные модели мотоциклов (часть 4)
Ссылка на третью часть масштабных моделей мотоциклов
Масштабные модели мотоциклов (часть 3)
Ссылка на одиннадцатую часть масштабных моделей автомобилей
Масштабные модели автомобилей (часть 11)
Мотоциклы в масштабе 1:18



























































































